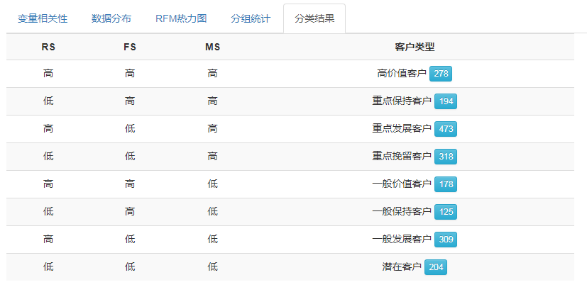
RFM模型是衡量客户价值和客户创利能力的重要工具和手段,该模型通过客户的近期交易行为、交易的总体频率以及交易金额三项指标来描述客户的价值状况,依据这三项指标划分8类客户价值。
最近一次消费时间间隔(R),上一次消费离得越近,也就是R的值越小,用户价值越高。消费频率(F),购买频率越高,也就是F值越大,用户价值越高。消费金额(M),消费金额越高,也就是M值越大,用户价值越高。具体实际业务中,如何定义打分的范围,要根据具体的业务来灵活定,没有统一的标准。

RFM模型的优点:
客观 - 利用客观的数字尺度,对客户进行简明而翔实的高水平描述。
简单 - 只需要客户的消费时间和消费金额两个字段,业务人员就可以在不需要信息部门或复杂软件的情况下就能有效使用它。
直观 - 这种分割方法的输出很容易理解和解释。
RFM模型能够轻松地解答你业务上的这些问题:
谁是我最好的客户?
哪些客户正处于流失的边缘?
谁有可能转化为更有利可图的客户?
谁是你不需要关注的无价值客户?
你必须保留哪些客户?
谁是你的忠实客户?
哪些客户最有可能对当前的营销动作做出回应?
一、计算R、F、M值
从营销数据库查询用户的最近购买时间,统计购买金额和购买频次数据。
二、数据检验,分析数据分布,变量之间是否存在相关性


三、设置数据分箱参数,对数据进行分类,检验分类结果


四、生成客户价值分类
